北京市凌鷹起重機械廠
地址:北京市昌平區東小口
二十四小時手機:18611422091(同微信)
傳真: 010-58043523
抖音:lyqz18611422091
掃一掃加微信好友




安全制動器是電動葫蘆的一個非常重要的安全裝置,是為了防止電動葫蘆發生溜鉤故障而設計的。下面北京凌鷹技術人員解說一下電動葫蘆安全制動器的機構組成及工作原理:
安全制動器的整體結構如圖1所示。主要是一個棘輪機構構成,棘輪機構由棘輪組件和棘爪組件組成,棘輪組件安裝在電動葫蘆的卷筒上,棘爪組件安裝在葫蘆外殼上。
?

?
(一)棘輪組件結構
棘輪組件主要包括兩塊棘輪片、摩擦片、凸輪、聯接螺栓。兩塊棘輪片是兩個半圓形,用聯接螺栓鏈接起來合成一個整棘輪,壓緊摩擦片緊固在卷同上,調節聯接螺栓的松緊,可以調節摩擦片制動摩擦阻力的大小。棘輪四周均勻分布12個輪槽和12個凸起,并均勻鉆有6個螺栓孔,用與凸輪聯接,如圖2所示。凸輪主要用來拔動棘爪上的軸承,其上均勻分布12個凸起,四周也均勻鉆有6個螺栓孔,用螺栓將凸輪緊固在棘輪片上并使凸輪的凸起與棘輪的輪槽保持適當的距離,如圖3所示。
?

?
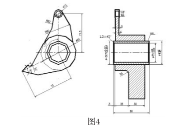
(二)棘爪組件結構
棘爪組件主要包括棘爪板、銷軸、軸承。棘爪組件的棘爪板形狀如圖4所示,其中心裝有銷軸,安裝在葫蘆外殼上,棘爪可以繞銷軸作一定角度的擺動,棘爪板上端有軸承,軸承與棘輪組件上的凸輪接觸。
?

?
(三)安全制動器工作原理
在正常情況下,卷筒勻速轉動,重物勻速上升和下降,且速度控制在一定范圍內,此時,裝在卷筒上的棘輪組件也隨卷筒勻速轉動,凸輪輕輕撥動棘爪板上端的軸承,棘爪板繞銷軸作小角度擺動,不影響電動葫蘆的正常使用。當點擊制動失靈、斷軸或減速器損壞時,重物超速下降達到一定的值,卷筒的轉速也增加到一定的速度,凸輪會加速撥動棘爪上的軸承,使棘爪板擺動的頻率增快、角度加大,當擺動達到一定角度時,棘爪的爪部插入棘輪輪槽,棘輪與棘爪之間為棘輪輪槽與棘爪咬合,這時棘輪被迫停止轉動,棘輪摩擦片對卷筒產生摩擦阻力消耗能量,直至卷筒完全制動,重物停止下降。
上一條:詳解環鏈電動葫蘆智能控制器的“小材大用”
下一條:技術創新——手拉葫蘆在煤礦中如何確保操作安全